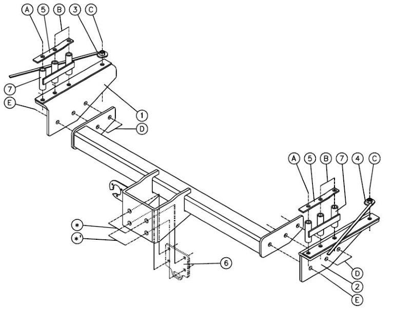
Descriptif
Nos attelages répondent à toutes les normes européennes.
Ils sont homologués selon la directive 94/20/CE du 30 mai 1994 relative aux dispositifs d’attelage mécanique des véhicules à moteur et de leurs remorques ainsi qu’à leur fixation.




