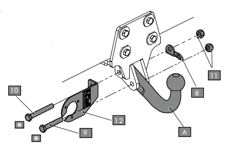
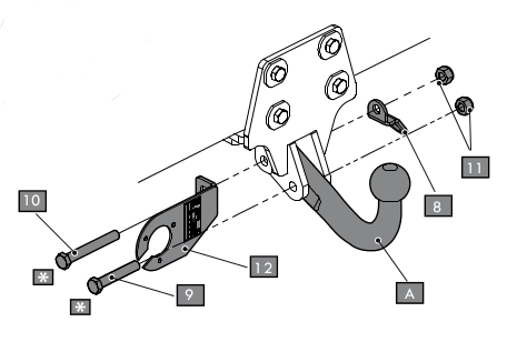
Descriptif
Nos attelages répondent à toutes les normes européennes. Ils sont homologués selon la directive 94/20/CE du 30 mai 1994 relative aux dispositifs d’attelage mécanique des véhicules à moteur et de leurs remorques ainsi qu’à leur fixation.
Attelage avec faisceau spécifique (merci de préciser 7 plots lors de la commande)
POUR COL DE CYGNE



